20241230 ubuntu版本号
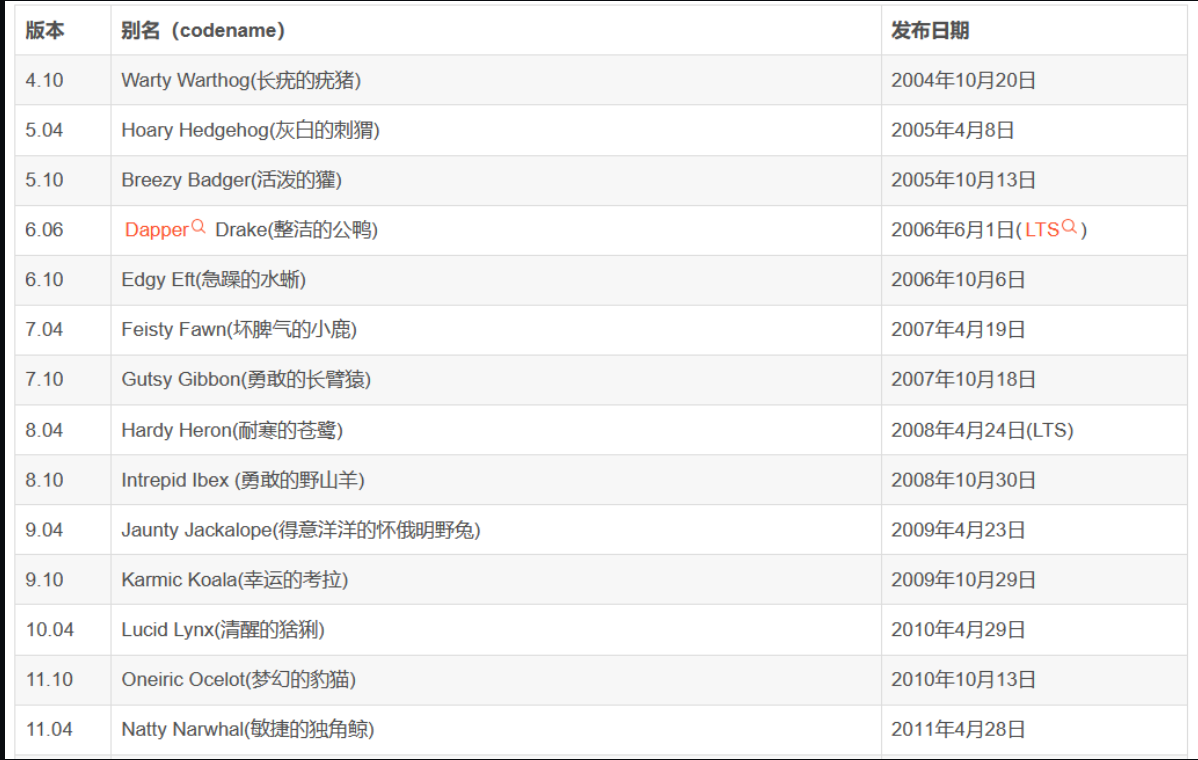
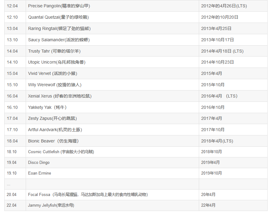
Ubuntu中,每个版本都有一个更为特色的名字,这个名字由一个形容词和一个动物名称组成,并且,形容词和名词的首字母都是一致的。从D版本开始又增加了一个规则,首字母要顺延上个版本,如果当前版本是 D ,下个版本就要以 E 来起头。
Ubuntu历史版本与代号一览:
Ubuntu 发布版本的官方名称是 Ubuntu X.YY ,其中 X 表示年份(减去2000),YY 表示发布的月份。
Ubuntu 没有像其它软件一样有 1.0 版本,是因为其第一个版本是发布于 2004 年。所以Ubuntu的生日是10月20日。
具体表格


更新日期
每两年的 4 月份,都会推出一个长期支持版本(LTS),其支持期长达五年,而非 LTS 版本的支持期通常只有半年。
如何检查当前版本codename
可以使用如下命令:
root@host1:~# lsb_release -a
Distributor ID: Ubuntu
Description: Ubuntu 14.04.5 LTS
Release: 14.04
Codename: trusty
codename的用途
- 如果你需要自己编辑更新列表文件, /etc/apt/sources.list ,你就会发现在 url 的后面紧跟着一个 codename
Ubuntu 的版本更新周期
桌面版和服务器版本更新的时间是 6 个月
Ubuntu 的版本支持时间
对于 desktop 版本和 server 版本,Ubuntu 会提供至少18个月的技术支持
对于 LTS 版本(Long Term Suppot)长期支持版本,desktop 版的会提供至少 3年技术支持,server 版本的会提供至少 5 年即使支持
Ubuntu 的各个版本 (最新发行版主要提供 Desktop 和 Server 两种版本)
Desktop版本:desktop 是 live cd 的名字,什么是 live cd? live cd 是一个刻录在光盘上的操作系统,我们并不需要硬盘就可以直接在光盘上运行这个操作系统。里面也已经集成了很多软件,我们一般可以把这个系统安装到硬盘上,类似于ghost系统,安装速度会比较快。这个版本提供了向导的图形界面的方式,让你一步步来轻松地安装 Ubuntu (一般都安装这个系统的 32 位 i386 版本)
Alternate版本:是一个最标准的安装版本,采用文本安装界面,里面有很多高级选项,可以安装 desktop ,也可以安装 server 版,适合比较高要求的人来安装,安装速度比 desktop 版慢,但是运行时的效率比 desktop 版本快
Netbook版本:专门为上网本定制和优化,最近的版本采用了 Unity,为小屏幕提供了一种美观的用户界面,采用了大图标设计,让用户更容易寻找各种应用程序
DVD版本:里面包括 Desktop 和 Alternate 两种安裝模式,同时集成更多的软件和完整的语言包,假如你没有联网可以选择下这个版本
Minimal版本:安装 Ubuntu 的最小镜像版本
来源
本文为博主原创文章,如果转载请注明本博客网址!
原文链接:https://blog.csdn.net/zhengmx100/article/details/78352773
留言
評論插件加載失敗
正在加載評論插件